La véritable histoire des montres Grana et Certina

La véritable histoire des montres Grana et Certina

Certina

Les frères Kurth de Granges ont d’abord commercialisé leurs montres sous la marque Grana, mais c’est finalement la marque Certina qui s’est imposée, grâce à des modèles à succès comme la Labora ou la Certina DS.

Description

Joël Pynson

Janvier 2025

1. La dynastie Kurth

Adolph Kurth a enregistré sa fabrique d’horlogerie à Granges en 1891 [1], mais il devait déjà y avoir une activité puisque la date officielle de création a été fixée à 1888.

Son frère Alfred le rejoint en 1896 et la société devient Kurth Frères.

Adolph décède en 1897 et c’est un troisième frère, Emil qui entre alors dans la société [2].

La fabrique se spécialise dans la montre de dame et fabrique ses propres mouvements, de 10 à 14 lignes.

1896

La marque Grana est déposée en 1898.

Dès 1903 les frères Kurth fabriquent des montres-bracelets, et leur qualité est reconnue dans les grandes expositions internationales : médaille d’or à Milan en 1906, à Bruxelles en 1910, et à Berne en 1914.

1905

1915

Plusieurs marques sont déposées, comme Ultima, Moderna, ou Narcisse qui deviendra même brièvement le nom de la société [3]. En 1921, la société est renommée Fabrique Grana [4].

1922

1929

La marque Certina est déposée en 1924.

Lors de la création des trusts horlogers pendant la crise des années 1920-1930, la Fabrique Grana passe une convention avec Ébauches SA mais conserve sa fabrication d’ébauches. La société conserve ainsi son statut de manufacture [5].

En 1932, la Fabrique d’Horlogerie Grana devient une SA, et voit arriver la 2e génération de la famille Kurth : Adolph, Erwin et Hans [6].

Emil Kurth décède en 1934. La société qu’il a contribué à créer est désormais une fabrique de moyenne importance, employant 120 personnes [7].

1935

En 1935 Grana produit ses premières montres étanches avec antichoc. Les montres de bonne qualité sont vendues sous la marque Grana, et celles de qualité courante sous les marques Certina et Ultima.

Alfred Kurth décède en 1937 et c’est Hans Kurth qui devient président du conseil d’administration [8].

En 1938, pour les 50 ans de l’entreprise, Grana lance une série de modèles Grana Sport, étanches, en acier, avec système antichoc. La montre de sport devient une spécialité de la société qui occupe désormais 250 employés.

1939

1938

1943

En 1944, les frères Kurth lancent un modèle qui va avoir un succès considérable : la Certina Labora. Destinée aux travailleurs et aux gens actifs, elle est solide, précise et bon marché. Le succès de la marque Certina est tel que la société sera renommée Fabrique des montres Certina en 1949 [9].

1944

Ferdinand Hodler, Le bucheron, 1910, Musée d’Orsay

1946

En 1948, Certina lance son premier calibre automatique, KF360. C’est un mouvement classique pour l’époque avec masse oscillante à butées. Le deuxième calibre automatique, 25-45 et 28-45, lancé en 1953, est plus moderne : rotor tournant sur 360° et remontant dans les deux sens de rotation, seconde au centre, avec ou sans date par guichet.

1948

1953

La version avec date, Certidate, existait aussi avec mouvement à remontage manuel.

1957

En 1959, pour les 70 ans de l’entreprise, Certina inaugure de nouveaux bâtiments pour accueillir l’ensemble des activités : administratif, bureaux de recherche, ateliers de remontage et de réglage, et bien sûr la manufacture de mouvements [10].

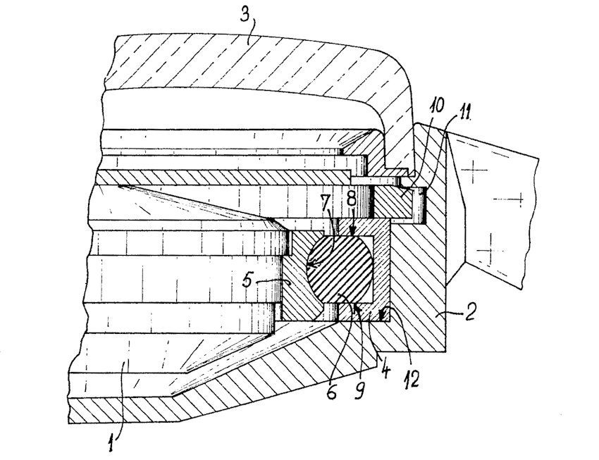
C’est aussi en 1959 que Certina a lancé son modèle aujourd’hui le plus célèbre : la Certina DS (DS pour Double Sécurité). Cette montre a été conçue pour être extrêmement résistante aux chocs. Le mouvement est en effet « flottant », c’est-à-dire qu’il ne prend appui qu’à la périphérie de la boîte, par l’intermédiaire d’un joint O, élastique, qui fait le tour du mouvement. L’échappement est bien sûr muni d’un antichoc. De plus la boîte est étanche, à l’équivalent de 200 m de profondeur.

Ce système a été breveté [11] par le fabricant de boîtes Huguenin au Locle, celui-là même qui fournissait les boîtes du chronographe Speedmaster d’Omega.

Brevet Huguenin, CH 408 793

1959

En 1965, Certina lance une élégante montre carrée étanche : la Certina T+C (Town and Country), et l’année d’après un modèle au style épuré, la New Art.

1965

1966

En 1968, l’étanchéité et la résistance aux chocs du modèle DS est améliorée et le modèle s’appelle désormais DS-2. À cette occasion deux nouveaux modèles destinés à la plongée sont lancés : la PH 200M, étanche à 200 m et la Super PH 500M, étanche à 500 m.

L’année d’après, Certina lance un chronographe DS-2 Chronolympic, et en 1970 un modèle étanche à 1000 m : la Super PH 1000M.

En 1969, Certina, dirigée par Hans Kurth, occupe plus de 850 personnes et produit plus de 500 000 montres par an [12].

L’électronique commençant à gagner du terrain en horlogerie, Certina s’associe à Buren, Roamer et Rolex pour créer Neosonic SA. Cette nouvelle société a pour but de faire des travaux de recherche sur les montres électroniques, en collaboration avec l’École polytechnique Fédérale de Zurich [13]. Philipp Kurth, directeur technique de Certina, est nommé président du conseil d’administration.

L’augmentation de la fréquence du balancier spiral est un facteur d’amélioration de la précision des montres. Le développement du Clinergic 21 par les Fabriques d’Assortiment Réunies en 1966 avait permis le lancement de calibres battant à 36 000 A/h qui avaient été utilisés par Girard-Perregaux, Longines, Cyma, Zodiac, Doxa et bien d’autres [14].

Après l’avènement du Clinergic 21, les travaux théoriques et les essais concernant l’échappement se sont poursuivis. Or les tests montrent que pour les montres fabriquées à cette époque, la fréquence idéale est légèrement inférieure à 30 000 A/h. Ce sera l’avènement des montres à 28 800 A/h. Certina a utilisé ces calibres dès qu’ils ont été disponibles en y apportant une amélioration sous la forme d’un roulement à billes miniature pour éviter l’usure prématurée du barillet [15].

Le lancement de ces montres, judicieusement appelées 288 a eu lieu en 1970.

1971

L’année d’après Certina a lancé une version du chronographe Chronolympic avec compteur de minutes central. Il est alors présenté comme « le premier chronographe-bracelet avec compteur de minutes central ». Ce n’est pas exact : le premier chronographe de ce type est le Mido Multi-Centerchrono qui date lui de 1941, et Longines en a également produit à partir de 1942.

1971

Avec la fin du statut horloger, qui protégeait l’industrie horlogère suisse depuis les années 1930, les fabricants suisses sont confrontés dans les années 1960 à une rude concurrence étrangère. C’est le début des concentrations d’entreprises dans l’objectif de mettre en commun les ressources et les compétences. L’ASUAG favorise ces regroupements d’entreprise et créé en 1971 General Watch Holding Co. Cette holding chapeaute 7 fabricants de montres suisses : Edox, Eterna, Mido, Oris, Rado, Technos et Certina [16].

2. General Watch Holding

Avec l’intégration dans la General Watch Holding, Certina perd son statut de manufacture, lequel s’était en fait considérablement réduit avec l’introduction progressive de calibres Ébauches SA dans la production des montres Certina.

Les premières années de Certina dans la holding sont plutôt favorables : lancement de plusieurs modèles, dont la Biostar-Electronic et la DS 288, lancement de montres électroniques et à quartz en 1973, et lancement d’une montre-réveil automatique en 1974.

1974

Certina Biostar, 1972. Le disque est sensé montrer les 3 biorythmes de son porteur, physique, psychique et intellectuel, selon une théorie assez fantaisiste.

La présence dans le groupe General Watch de la fabrique Rado permet à Certina de lancer en 1975 la DS Diamaster avec une boîte en carbure de tungstène, technologie initiée avec la Rado Diastar.

Hans et Erwin Kurth se retirent de l’entreprise en 1975. C’est à cette époque que débute la fameuse « crise du quartz » et Certina ne va pas y échapper.

En 1976 la fabrique Certina de Granges cesse la production de mouvements qui est relocalisée dans d’autres centres de production du groupe ASUAG [17]. Malgré le lancement de nombreux modèles de montres à quartz, dont les gammes Marine, Newport ou Arc Royal, des licenciements surviennent à Granges [18] et en 1981, Certina, Edox et Technos sont regroupés sous la même entité [19].

En 1983, l’ASUAG fusionne avec la SSIH (Omega, Tissot, Lémania) [20]. La General Watch Holding est démantelée et de nombreuses entreprises sont cédées : pour l’ASUAG, Oris, Edox, Technos s’en vont. Mais Certina reste avec Rado et Mido. Ces 3 fabricants intègrent alors la SMH qui deviendra le Swatch Group en 1998.

Un article sur les principaux modèles de montres Certina se trouve ici.

Le site officiel Certina, c’est là.

[1] FOSC 1891

[2] FOSC 1897

[3] FOSC 1910

[4] FOSC 1921

[5] La Fédération Horlogère, 1929, 23, p. 239

[6] FOSC 1932

[7] Revue Internationale d’Horlogerie, 1935, 9, p. 101

[8] FOSC 1937

[9] FOSC 1949

[10] Journal Suisse d’Horlogerie, 1959, 1, pp. 121-122

[11] Brevets CH 346 825 et CH 408 793

[12] Journal Suisse d’Horlogerie, 1969, 6, p. 756

[13] Journal Suisse d’Horlogerie, 1969, 2, p. 146

[14] Joël Pynson, La montre-bracelet Suisse, Editions Time To Tell, 2024, pp. 273-283

[15] La Suisse Horlogère, édition hebdomadaire, 1970, 17, p. 646

[16] Journal Suisse d’Horlogerie, 1971, 2, p. 138

[17] La Suisse Horlogère, édition hebdomadaire, 1976, 48, p. 1119

[18] La Suisse Horlogère, édition hebdomadaire, 1978, 41, p. 939

[19] La Suisse Horlogère, édition hebdomadaire, 1981, 19, p. 13

[20] Joël Pynson, La montre-bracelet Suisse, Editions Time To Tell, 2024, pp. 386-387

Les archives de la Fédération Horlogère, du Davoine et de l’Impartial sont disponibles en ligne sur www.doc.rero.ch

Les archives du Journal Suisse d’Horlogerie, d’Europa Star, de la Revue Internationale d’Horlogerie et de la Suisse Horlogère sont disponibles sur The Watch Library

Le FOSC (Feuille Officielle Suisse du Commerce) est disponible sur E-periodica

Notes :

Concernant Time To Tell : Time To Tell dispose de l'une des plus grandes bases de données privées numérisées sur l'histoire de l'horlogerie suisse avec plus de 2,3 To de données sur plus de 1000 fabricants de montres suisses. Cette base a été construite sur une période d'une trentaine d'années et continue à être alimentée d'environ 50 à 100 Go de données chaque année. Cette base de données est constituée de documents anciens, en majorité des revues professionnelles suisses, allant de la fin du 19e siècle à la fin du 20e siècle. La plupart de ces documents ne sont pas disponibles sur l'Internet. Les articles historiques publiés sur le site time2tell.com citent toujours les sources utilisées.

Time To Tell est une société privée, indépendante de tout fabricant d'horlogerie.

©Time To Tell, 2025

Reproduction interdite sans autorisation.

Toute utilisation de cet article par une intelligence artificielle est strictement interdite et sera considérée comme une atteinte aux droits d’auteur.

Détails du produit

Product added to wishlist

Nous utilisons des cookies afin de fournir une expérience utilisateur conviviale. En naviguant sur ce site, vous acceptez la politique d'utilisation des cookies.